به گزارش سرویس فناوریهای نوین پایگاه خبری ساعدنیوز گوشی تاشو گلکسی زد فولد 5 سامسونگ ظاهراً قرار است به لطف تغییر طراحی و بهر ه مندی از لولای جدید، از نمایشگری با چین خوردگی کمتر نسبت به نسل های قبلی گوشی های تاشو این شرکت به بازار عرضه شود.
به گزارش یکی از منابع آگاه بازار، سامسونگ قصد دارد موبایل تاشو جدید خود را به لولایی با طراحی قطره ای شکل مجهز کند که هنگام بسته شدن دستگاه، نمایشگر آن چین کمتری می خورد. درواقع لولای قطره ای شکل باعث می شود گوشی تاشو بسیار ملایم تر بسته شود و نمایشگر چین خوردگی کمتری داشته باشد.

گوشی های تاشو گلکسی زد فولد 4 و زد فلیپ 4 از لولایی با طراحی U شکل بهره می برند که نمایشگر را در حالت بسته در زاویه بهتری قرار می دهد، اما باعث چین خوردگی نمایشگر می شود. درواقع این طراحی می تواند فشار بیشتری روی نمایشگر ایجاد کند و یکی از ضعف های طراحی گوشی های تاشو سامسونگ نیز محسوب می شود.
یکی از منابع آگاه بازار اکنون می گوید سامسونگ ظاهراً قصد دارد این طراحی U شکل مربوط به لولای دستگاه را تغییر دهد. درواقع نسل بعدی گوشی های تاشو سامسونگ احتمالاً با طراحی لولای قطره ای شکل از راه می رسند که نتیجه آن کمترشدن چین خوردگی نمایشگر و کاهش فشار روی صفحه نمایش خواهد بود.

گوشی های تاشو سامسونگ تنها دستگاه هایی نیستند که نمایشگر آن ها هنگام بسته شدن دچار چین خوردگی می شود. گوشی تاشو اوپو فاید N2 نیز هنگام بازشدن دچار چین خوردگی قابل توجهی می شود.
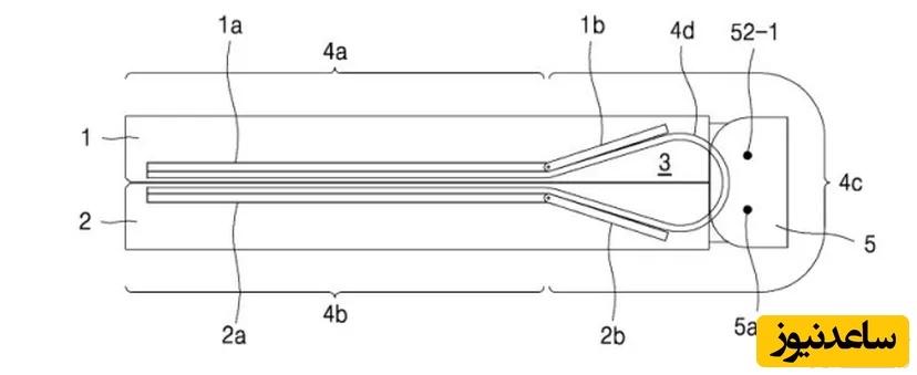
سامسونگ در سال 2016 ابتدا لولایی با طراحی اشکی شکل ثبت اختراع کرد و حالا به نظر می رسد این پتنت قرار است در گوشی های تاشو این شرکت اجرایی شود.
منبع آگاه بازار می گوید ظاهراً سامسونگ می خواهد علاوه بر ظریف ترکردن چین خوردگی، طراحی گلکسی زد فولد 5 را نیز تغییراتی دهد تا در هنگام بسته شدن دستگاه، گوشی به صورت صاف تری قرار بگیرد و شکاف کوچک بین صفحات به حداقل برسد. این کار باعث می شود موبایل تاشو راحت تر در جیب و کیف کاربران قرار بگیرد.